DỊCH VỤ GIA CÔNG SẢN PHẨM NHỰA
Hổ trợ trực tuyến
Ms. Lan Anh- Hotline - 094.665.9996
Mr. Hùng - Kinh doanh - 097.999.2107
Ms. Duyên- Kinh Doanh - 0966.24.9996
Ms. Hiên - Kinh Doanh - 0944.189.399
Ms. Miên - Kinh doanh - 0985.936.776
Mr Nguyên - Kỹ thuật - 0986.914.470 - 0916.914.470
Ms.Tú - Kinh Doanh - 096.111.2663
Ms. Hà - Kinh doanh - 0988.46.9996
Mr: Nam - Kinh Doanh - 0986.496.068
Ms. Hoài - Kinh Doanh - 0973449996
Danh mục sản phẩm
Fanpage Facebook
Liên kết website
Thống kê
- Đang online 0
- Hôm nay 0
- Hôm qua 0
- Trong tuần 0
- Trong tháng 0
- Tổng cộng 0
CHO THUÊ MÁY MÓC THIẾT BỊ THÍ NGHIỆM
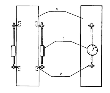
KHUNG ĐO CO NGÓT BÊ
call 0946659996
KHUNG ĐO CO NGÓT BÊ


Theo TCVN 3117
Bao gồm: 02 đồng hồ so chỉ thị kim có dải đo: 1mm x 0.001mm
02 bộ gá gắn vào mẫu bê tông để lắp đồng hồ so
Bình luận
Sản phẩm cùng loại












